英国的顶级奢侈品牌“Boadicea the Victorious”胜利女王香水于2011年9月准备进入中国市场,并且进行了广泛的宣传。2013年胜利女王香水进入香港Harvey Nichols。然而,在准备进入中国大陆市场时,发现“Boadicea the Victorious”商标在2012年被杭州同丰广告策划有限公司抢注,这直接导致了胜利女王香水品牌进入中国市场的计划被耽误,以致足足推迟了4年。
畅科知识产权代理接到委托后,针对抢注情况进行分析,制订了扫清商标注册在先障碍的方案,一方面提出商标注册申请,另一方面对抢注商标提出无效宣告申请以及撤销连续三年不使用注册商标申请。最终成功撤销抢注商标,为“胜利女王香水” 进入大陆市场清除了障碍。

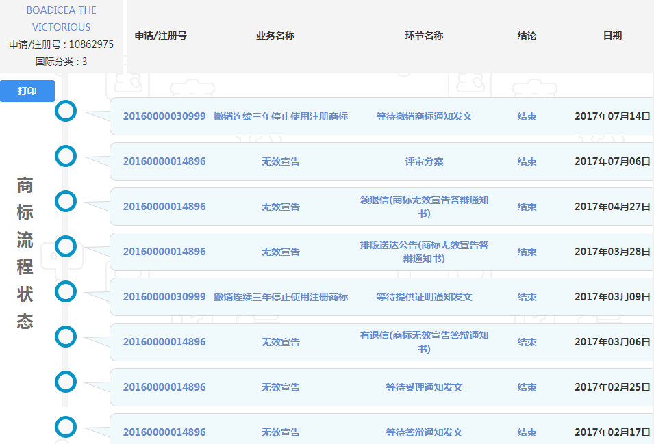
具体案件流程如下:
一、收到商标驳回通知书
申请人珐洛瑞第一资本有限公司 VALOREM CAPITAL ONE LTD在第3类申请注册第20738384号“Boadicea the Victorious”商标,经商标局审查,驳回该商标的注册申,请理由如下:
驳回在第3类“香皂,剃须皂,香波,浴液,洗发剂,香料,香水,古龙水,淡香水,化妆品”上使用该商标的注册申请,该商标与杭州同丰广告策划有限公司在类似服务项目上已注册的第10862975号“BOADICEATHEVICTORIOUS”商标近似。
二、提出商标驳回复审
申请人对驳回决定不服,根据《商标法》第三十四条的规定,特申请复审。
2017年5月我方在收到驳回通知书,规定期限内提出了驳回复审申请。并且商标评审委员会受理该申请。
三、宣告注册商标无效请求
通过我方调查,“Boadicea the Victorious”作为珐洛瑞第一资本有限公司的主营商标,具有极高国际知名度的百年奢侈品牌。杭州同丰广告策划有限公司申请在第3类洗护用品的第10862975号“BOADICEATHEVICTORIOUS”商标,并非其主营产品,经查询杭州同丰广告策划有限公司长期仿冒各行业知名品牌,甚至申请注册知名服装设计师Lyn Devon的名字。因此在第3类申请完全相同的商标具有明显的仿冒恶意。针对此种情况,我司于2016年10月提出无效宣告申请。
四、撤三申请
本案中,在先商标2013年注册成功,注册时期已过三年,符合进行撤三案件的条件,同时,经过我方调查并未发现此商标使用的有效信息,分析得出撤销成功率较大。因此,2016年10月提出撤三申请。
五、商标局下发决定书
2017年7月8日商标局决定:撤销第10862975号第3类“BOADICEATHEVICTORIOUS”注册商标,原第10862975号《商标注册证》作废,并予公告。

结语:随着商标注册量的不断增加,商标抢注以及存在在先注册障碍商标很普遍,商标注册难度也日益增加。面对上述商标被抢注情况,有着十年商标案件代理经验的畅科律师建议:
1、根据商标案件实际面临状况,结合具体抢注商标或在先商标信息,制定具有可行性的操作方案。例如:对于违反《商标法》规定的,或者是以欺骗手段或者其他不正当手段取得注册的,可以请求商标评审委员会宣告该注册商标无效;面对注册商标成为其核定使用的商品的通用名称或者没有正当理由连续三年不使用的情况,可以向商标局申请撤销该注册商标。
2、避免同类案件重复操作。商标案件作为商标局的行政行为,受到行政法的相关约束,《行政许可法》第八条规定了行政行为的相关原则,“同案不同判”的情况会被避免。因此,在商标案件中,应选择最具有可行性的方案,避免同类案件重复操作,切忌抱着试试看的想法。
3、审慎选择代理机构。代理机构在商标案件中的作用不可忽视,代理机构所出具的建议函、相关法律文书在一定程度上可能会对案件最终的结果造成影响。因此,在选择代理机构时,应对代理机构的实力以及其所出具的建议函、相关法律文书等有深入的了解。
畅科知识产权 刘炫烨
2017年8月3日
版权所有 Copyright(C)2016 南京畅科知识产权代理有限公司
地址:南京市紫金(江宁)科技创业特别社区悠谷产业园